S 10 K 3
SK 3
Sender-Kurz type 3
The versions 1 and 2 are derivates of the regular FuG 10 system
Whilst this type is entirely different and was using a different automatic antenna-tuner
This later in the war introduced wide-band transmitter system, covers: 5.9 up to 18 MHz within a single band (range)
Its manual is D.(Luft) T. 4005/4

S 10K3
Bauart: BOU = code-designation for Telefunken
This is quite curious, as its concept is typically Lorenz alike (But, also EZ 6 was designed by Telefunken, but its concepts differs very much from that of Lorenz)
Gerät-Nr 124 - 59 H-2
This is also curious, as the low number '59' should point to an early design. As most construction-drawing numbers were provided in succession. This might point into the direction that its design goes back to an early stage of the war or even beyond.
Werk-Nr. 431565 (encrypted production number)
Anforder Z. Ln 26565-4 (GAF stock-number)
Hersteller: jjk


Front panel of S 10 K 3 or also known as SK 3
Its concept equals that of the regular FuG 10 transmitters

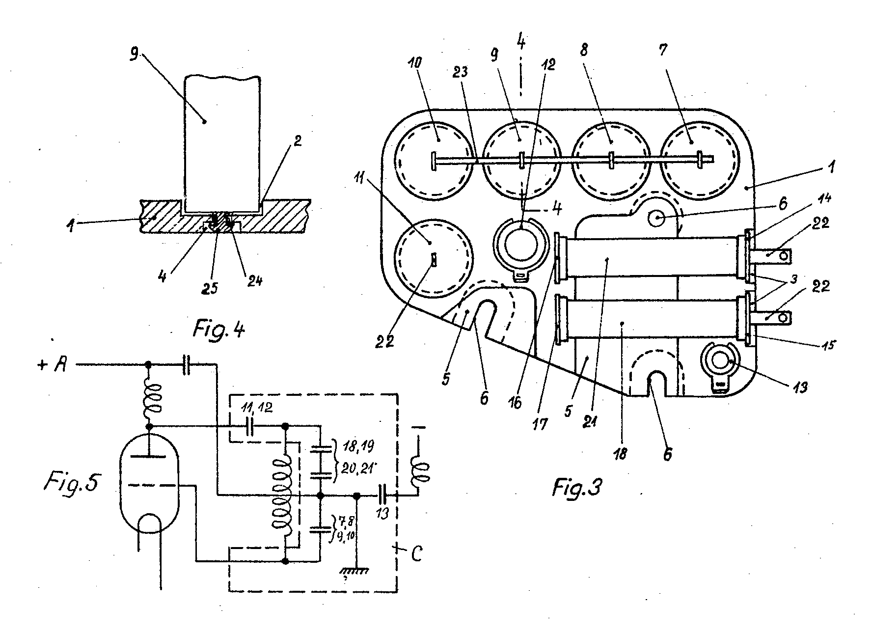
Viewing the the PA section of S 10 K 3 (SK3)
Its construction does not view much different compared to the regular FuG 10 concept.
Albeit that the variometer on the left inside the module is not of the 'ball' type.

As to capture a frequency ratio of 1 : 3 special provisions should be incorporated as to making this possible
For it the use a conical variometer coil. The wire-coil rotates and the contact-slide follows it like a threat down- and upwards.

Patent DE899521 on behalf of Lorenz covers a similar variometer type. Although, the way the connection onto the tapered coil is made differs a bit

In front we see the oscillator stage
Not well visible, but the dynamic- and static- temperature-compensation might be the section with the green cylindrical ceramic capacitors.

I memorise this smart circuit concept by: C5, as this is designated in the FuG 10 short wave transmitter.
It is covered by DE761260

Its maximum frequency is 18.0 MHz
The frequency dial (scale) is magnified by means of a spiral window movement up and downwards.

Its automatic antenna tuner is beautifully designed
However, I have never seen one.
Please continue with: Exhibits-details 11e E 10 K 3 (EK 3)